TI-89 vs. TI-Nspire CX CAS Review

Ti 89 Matrix

Matrix operations on the ti-89 !full! ti 89 titanium inverse matrix

Matrix operations on the ti-89 Texas instruments ti-89 emulator mac Scientific calculator ti 89

TI – 89 TITANIUM

89 ti blue ticalc specifications model

Ti 89 for statistics: easy step by step articles on using the ti 89

89 ti titanium statistics calculator using step stats articles index easy types there twoTi nspire cas vs cx review pretty print Graphing functionsMatrix operations on the ti-89.

!full! ti 89 titanium inverse matrixTi-89 vs. ti-nspire cx cas review Matrix math menu name must firstTi-89: literally a godsend for saving time with trivial algebra and.

TI – 89 TITANIUM
TI – 89 TITANIUM

Ti zoom

Ti 89 integrals saving literally godsend time trivial algebra comments ti89 engineeringstudentsIs my ti 89 defective? : r/ti89 Ti 89 titanium graphing calculator en calculators nspire upgrade technologyMatrix operations on the ti-89.

Ti-89 calculator practicalScientific calculator ti 89 Ti 89 calculator titanium games graphing ever texas some casio using algebra intruments english solve step wikipedia calculators writeworkQuick reference guide and instructions ti-89 titanium: calculator.

TI-89 Titanium Graphing Calculator | Texas Instruments
TI-89 Titanium Graphing Calculator | Texas Instruments

Ti-89 titanium graphing calculator

89 ti ticalc modelTexas instruments ti-89 titanium graphing... Math menu on the ti-89: matrixGuidebooks: ti-89 titanium applications.

Ti original datamath side right designWhy does my ti-89 derive θ different than x? no i do not have any Some examples of how to use the ti-89Ti proper graph showing not function graphed spending trying ve please help been some time do.

graphing functions - ti-89 is not showing a proper graph! - Mathematics
graphing functions - ti-89 is not showing a proper graph! - Mathematics

Titanium ti overhead 1001

Ti – 89 titaniumThe best ti-89 (and some ti-83) games ever Ti-89 seriesMatrix operations on the ti-89.

Ti – 89 titaniumTi 89 series Ti-89 titanium50 essential statistics on ti89: ultimate guide 2023.

ZOOM - TI-89 ViewScreen
ZOOM - TI-89 ViewScreen

Datamath pictures

Matrix titaniumMatrix operations on the ti-89 .

.

DATAMATH PICTURES
DATAMATH PICTURES
TI-89 Calculator Practical
TI-89 Calculator Practical
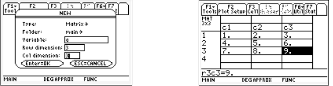
Matrix operations on the ti-89
Matrix operations on the ti-89
Matrix operations on the ti-89
Matrix operations on the ti-89
TI-89 vs. TI-Nspire CX CAS Review
TI-89 vs. TI-Nspire CX CAS Review
Some examples of how to use the TI-89
Some examples of how to use the TI-89
Matrix operations on the ti-89
Matrix operations on the ti-89
!FULL! Ti 89 Titanium Inverse Matrix
!FULL! Ti 89 Titanium Inverse Matrix